首页
手机版
您的位置:首页 > 软件下载 > 应用软件 > 教育学习 > 考试系统 > 2017考研成绩查询系统入口 v1.0 官网版

2017考研成绩查询系统入口 v1.0 官网版2017考研成绩查询系统入口 v1.0 官网版

软件大小:2MBMB

软件语言:简体中文

用户评分:

软件类型:国产软件

授权方式:免费版

软件官网:www.xiyoutong.com

更新时间:2018-04-30

软件分类:考试系统

运行环境:winxp/win7/win8/win10/

2017考研成绩查询系统入口是一款专为研考生打造的成绩查询软件,相信很多考生都想第一时间查询成绩,那就快来下载这款软件吧,希望能帮助到大家。

2017考研成绩查询软件

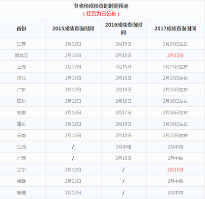
查询时间:

2017考研成绩查询软件

2017考研成绩查询软件

最新专题

  • win10 dll下载大全
  • 视频美化软件
  • 拓扑图制作软件
更多>
拓扑图制作软件

共收集11款软件拓扑图制作软件

网络拓扑图制作软件,可以针对网络、服务器、路由器、交换机等等设备进行精准的监视、追踪、检测等操作,确保网络正常运行,网络布置图一目了然,就可以清晰布置线路,查找问题所在了。

下载地址

  • PC版
下载错误?【投诉报错】

2017考研成绩查询系统入口 v1.0 官网版

高速下载

其他下载地址:

用户评论

(已有条评论)
按字母检索:
返回顶部
返回顶部